Aufgabe:
54.51 Aufgabe Physik Statik
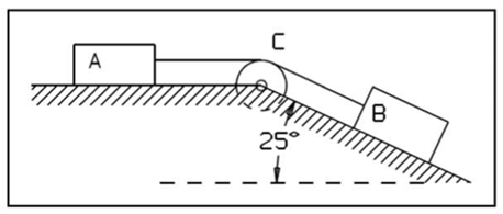
Die beiden Körper A und B haben die gleiche Masse fp.
Körper A ruht auf einer horizontalen Ebene; Körper B ruht auf einer um 25° zur Horizontalen geneigten Ebene.
Die beiden Körper sind durch ein Seil verbunden, das über die Rolle C läuft.
Unter der Annahme, dass sich das System im Grenzgleichgewicht befindet, bestimmen Sie den Wert des Reibungskoeffizienten μs (der für den Kontakt zwischen A und dem Boden sowie zwischen B und der geneigten Ebene gleich ist).
Die Reibung in der Rolle C ist vernachlässigbar.
Problem/Ansatz:
Gleichgewicht, Drehmoment als Gleichungen aufstellen bzw. bestimmen mit der Kräftezerlegungen