0 Daumen
615 Aufrufe

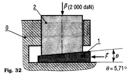
Aufgabe: Nr.5 / S.7
Die Position des Teils (2), der eine vertikale Last „P“ = 2000 [daN] trägt, wird mittels eines schrägen Keils (1) unter einem Winkel von „θ“ = 5,71° in der Höhe verstellt.


Die Reibung zwischen (0) und (1) sowie zwischen (1) und (2) ist durch „μ“ = f = 0,15 charakterisiert.


Die Reibung zwischen (0) und (2) wird vernachlässigt.


a) Ab welchem Wert der Kraft „F“ kann (2) angehoben werden?


b) Welche Kraft ist erforderlich, um die Last [(?), (ist Last „P“ gemeint (?)] abzusenken?

Bild2.jpg


Problem/Ansatz:

Statik: Ich verstehe die Aufgabe absolut nicht.
Bitte um Hilfe.
Freundliche Grüsse

Avatar von

1 Antwort

0 Daumen

rechne erst einmal ohne Reibung und zeichne die am Keil wirkenden Kräfte ein. Wie groß muss F dann sein?

Avatar von 4,5 k

Sehr geehrte/r Karl60,
Danke für Ihre sparsame Antwort.
Ich finde es nicht in Ordnung, dass Sie mich ständig bei meinen Aufgaben – Fragen ohne Lösung dastehen lassen. D.h., dass Sie mich auf eine komische Art schikaniert haben.
Ich dachte hier in Nanolounge bekommt ein Schüler / Student Hilfe als Lösung, wenn er/ sie nicht weiterkommt, sodass er/ sie davon lernen kann.
Leider sind Sie komischerweise der / die einzige / n, der/ die mir bis jetzt überhaut geantwortet hat, und zwar nicht gerade richtig hilfreich. Wie Kommt das?
Ich bitte um Hilfe von der Nanolounge, sobald wie möglich, da ich eine grosse Prüfung über das Thema Statik in 2D und 3D am Montag, den 12.01.2026 habe.
Ich bedanke mich herzlichst im Voraus für die Mühe der Nanolounge. Bitte, helfen Sie mir, ich bin etwas verzweifelt; Ich brauche wirklich konkrete Lösungen, um von denen zu lernen…
Ganz freundliche Grüsse

Bitte, senden / schreiben Sie eine begreifliche / plausibele Lösung hierzu, sobald wie möglich bitte (!).

Dankeschön im Voaraus

Freundliche Grüsse

tomkelly,

ich hoffe, dass Du Deine Prüfung bestanden hast.

Normal wäre, dass Du den Unterricht besucht und gut zugehört/zugesehen hast, sodass letzterer erfolgreich war und Du Dich ein Stück weiter gebildet hast.

Das scheint aber nicht der Fall zu sein, Du willst mit "Prüfung bestanden" nur nachweisen, dass Du wer bist, der Du nicht bist. Dazu kommt dann noch, dass Du in letzter Minute nach fremder Hilfe rufst, nach Helfenden, die für Dich eine Prüfung bestehen sollen.

Das Dankeschön kommt nur im Voraus, danach ist Stille, die Sache ist abgehakt.

Ich gebe hier gerne Antworten, aber nicht unter den geschilderten Umständen, sondern:

Wo man ihm ein Rätsel schenkt, steht der Ingenieur und denkt.

mfGn holdi

Überschlägige Antwort:

Mit Keilwinkel 5,71° ist die Kraftübersetzung etwa 10:1 (1/sin 5,71°).

Die am Keil zu berücklsichtigende Reibung tritt an seinen beiden Seiten auf und vergrößert die erforderliche Kraft F um etwa 60N (2 x 200 N x 0,15).
F ist (200/10 + 60) N, also etwa 80 N.

Erstaunlich hoch, weshalb es kontrolliert werden sollte.

Ein anderes Problem?

Stell deine Frage

Willkommen bei der Nanolounge! Stell deine Frage einfach und kostenlos

x
Made by a lovely community